Skip to content
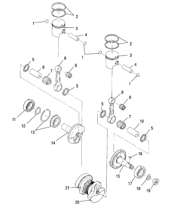
Артикул 3089530

Коленвал Widetrak LX Polaris

Нет в наличии Заказать
212 440,00 ₽
3089530 Включает позиции: 5-8,10-15,17,21,20