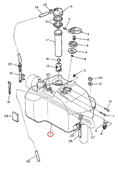
Артикул
83R-24111-00-00
Бак топливный VK540 Yamaha
17 490,00 ₽
Для снегоходов: Yamaha VK540 (VK540 II, VK540 III, Viking 540, Viking 540 ER, VK540 V, VK540 IV, VK540 III SP)
